boomballa
boomballa
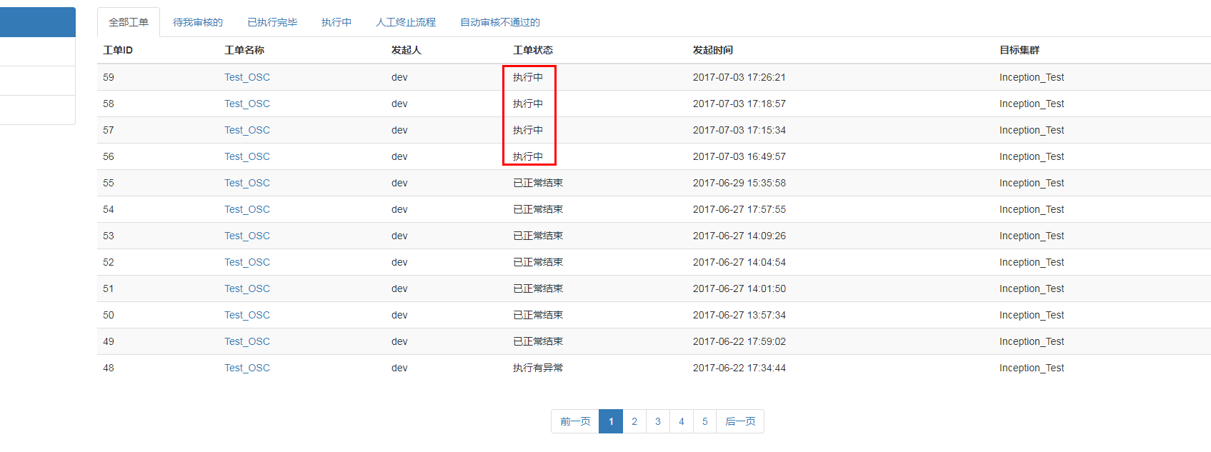
之前我提了几个使用问题,今天测试了最新版,发现如下问题。 申请者发起DDL SQL申请,在这,之前审核人员不能再待执行工单看见工单的问题已经修复,点击执行,会显示如下页面:  然后,刷新页面,已然是这样。 多尝试刷新几次也仍然是这个页面。 期间,我记录了下inception的端口状态,如下:  inception从服务启动到工单结束的全部日志输出如下:  我进被修改的数据库确认,每次工单应该都执行成功了,但是邮件已然没有收到,可能是因为工单状态没有变为已执行的原因。上述问题稳定复现, 我试了几次, 工单状态如下:  我强烈希望,咱们能先稳稳,起码保证版本功能可以正常使用,然后再开发改动比较大的新功能。 一直期待Pt-osc进度条的新版本,到目前仍然没有一个完整的体验。
Archer使用者,之前版本使用正常,最新版本的clone下来,只把原来的settings.py拷贝过去直接用的,并没有其他修改,遇见几个小问题,我感觉这对正式环境使用影响还是挺大的,没有别的意思,只希望archer越做越好,在这提一下这几个小问题 : 1. 审核人在待审核工单项中看不到工单,只能在全部工单中看到待执行工单。   2. 点进去执行,测试pt-osc进度条,审核人手动点按钮终止pt-osc操作,提示不能终止,提示非审核人(其实就是审核人)  3. 工单结束后,收不到正常结束的邮件啊,这十分的不方便。 4. SQL执行的时候,有个重新修改的按钮, 点完之后跳到 http://xx.xx.xx.xx/editsql/ ,好像就是导航页,只有发起SQL的人能使用么? 而且还是审核人只能在执行过程中才能看见,这样跳转的意义是让审核人重新再发起一条SQL麽 ? 和http://xx.xx.xx.xx/submitsql/ 感觉没有什么区别啊? 不知道这个按钮的作用。 而且审核人并没有发起的SQL的权限啊,我用审核人只能跳到下面导航页。 我记得咱们这个一个用户不能选定多个角色吧,没法既是工程师又是审核人啊,所以感觉对于审核人根本没啥意义啊,过程中发现问题,并不能提交修改SQL。 不知道是不是我个人理解有问题。 
run: go run mload.go --host 127.0.0.1 --userName mongobench --passWord xxx --db mongobench --collection data_test --datanum 100000 --procnum 8 --cpunum 8 --jsonfile ./test_data.json --operation insert panic: runtime error: invalid memory address...
I started two instances of dragonfly on the same machine, and the two instances cannot create a master-slave relationship normally. The startup commands for the two instances are: nohup dragonfly...
背景:使用redis-migrate-tool向codis+pika的架构同步数据,同步模式为全量+增量,源端为redis cluster 4.0,目标端为coids-proxy地址,目前可以正常同步,但是到增量阶段大概8小时左右,就会出现session close的错误,导致同步进程Crash,redis-migrate-tool日志没有任何报错,在codis proxy日志只可以看到: ``` 2023/05/25 15:51:16 session.go:83: [INFO] session [0xc012833600] create: {"ops":0,"create":1685001076,"remote":"192.168.3.26:39470"} 2023/05/25 22:53:10 session.go:90: [INFO] session [0xc012833600] closed: {"ops":136162772,"create":1685001076,"lastop":1685026390,"remote":"192.168.3.26:39470"}, error: EOF ``` codis配置文件为: ``` "config": { "proto_type":...
**问题描述** 您好,我想咨询一下Redis同步数据到Pika的问题。 **环境描述** 源端 Redis 版本:4.0.14 目的端 Redis 版本:Codis 3.2+Pika 3.3.6 版本说明:https://github.com/kernelai/codis/releases **问题** 看到Wiki中介绍,redis-shake可以支持Codis的数据迁移,如下: 想咨询下,具体target端的 type应该怎么配置呢?
My gh-ost version is 1.0.46. ` gh-ost --max-load=Threads_running=500 --critical-load=Threads_running=1000 --chunk-size=1000 --throttle-control-replicas="192.168.1.25:3307" --port=3307 --max-lag-millis=1500 --user="root" --password='123456' --host=192.168.1.24 --port=3307 --allow-on-master --database="account_proxy" --table="sms_validate_code" --verbose --alter="ADD COLUMN verify_channel tinyint NULL DEFAULT 0' AFTER sms_param"...
Excuse me, I would like to ask a question. When using gh-ost to execute ddl yesterday, an error occurred in the main library, which caused the table to fail to...
**Describe the bug** I tried inserting df some data, both expired and non-expired, but the Keyspace area in the info message, the avg_ttl message stats are inaccurate, it's always '-1'....
**Is your feature request related to a problem? Please describe.** Recently, I've been organizing the scripts and data output related to dragonfly monitoring, and I've seen the official monitoring based...